Silicon Valley: Teknologi karet wiper yang ada di mobil sekarang sudah dianggap kuno oleh Tesla. Oleh sebab itu, mereka pun sudah mempersiapkan teknologi pembersih kaca dengan menggunakan laser.
Laser ini akan berfungsi untuk membersihkan kaca mobil dari kotoran dan air hujan. Selain itu, penggunaan laser ini juga tampak modern, sesuai dengan konsep mobil-mobil yang diproduksi merek asal Amerika Serikat tersebut.
Penggunaan laser ini juga diakui bisa membersihkan kaca jauh lebih bersih dibandingkan karet yang digunakan sekarang. Terlebih ketika menggunakan karet wiper, ada bagian-bagian dari kaca mobil yang tidak bisa dijangkau untuk dibersihkan.
Padahal kaca yang bener-benar bersih ini dibutuhkan oleh sensor dan kamera yang digunakan di mobil.
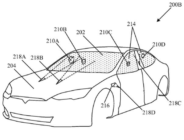
Mereka pun sudah mengajukan hak paten untuk teknologi terbarunya tersebut. Sistem kerja laser ini akan bekerja sama dengan sensor dan kamera mendeteksi adanya kotoran atau debu yang menempel di kaca mobil. Dari situ optik laser kemudian menghitung besaran dan eksposur laser yang diperlukan dalam membersihkan debu dan kotoran.
Jadi laser yang digunakan tidak sama seperti wiper karet bekerja. Laser tidak akan menyapu kaca mobil dengan rangkaian sinar yang ada. Alih-alih laser tersebut hanya akan bekerja di bagian kaca mobil yang kotor.
Belum ada kepastian mengenai penggunaan laser sebagai wiper ini. Banyak yang menduga teknologi ini akan digunakan pertama kali di Tesla Cybertruck. Mengingat ketika diperkenalkan, mobil tersebut tidak dilengkapi dengan batang wiper karet.
Silicon Valley: Teknologi karet wiper yang ada di mobil sekarang sudah dianggap kuno oleh Tesla. Oleh sebab itu, mereka pun sudah mempersiapkan teknologi pembersih kaca dengan menggunakan laser.
Laser ini akan berfungsi untuk membersihkan kaca mobil dari kotoran dan air hujan. Selain itu, penggunaan laser ini juga tampak modern, sesuai dengan konsep mobil-mobil yang diproduksi merek asal Amerika Serikat tersebut.
Penggunaan laser ini juga diakui bisa membersihkan kaca jauh lebih bersih dibandingkan karet yang digunakan sekarang. Terlebih ketika menggunakan karet wiper, ada bagian-bagian dari kaca mobil yang tidak bisa dijangkau untuk dibersihkan.
Padahal kaca yang bener-benar bersih ini dibutuhkan oleh sensor dan kamera yang digunakan di mobil.
Mereka pun sudah mengajukan hak paten untuk teknologi terbarunya tersebut. Sistem kerja laser ini akan bekerja sama dengan sensor dan kamera mendeteksi adanya kotoran atau debu yang menempel di kaca mobil. Dari situ optik laser kemudian menghitung besaran dan eksposur laser yang diperlukan dalam membersihkan debu dan kotoran.