Tokyo: Mesin rotary sudah lama tidak diproduksi oleh Mazda sejak 1 dekade yang lalu. Meski sudah tidak diproduksi, tetapi merek asal Jepang tersebut tidak berhenti mengembangan mesin tersebut.
Kini sudah muncul sebuah desain paten yang diduga adalah desain mesin rotary terbaru yang sudah dikembangkan. Di desain tersebut ada tampak ada tambahan baterai dan kemungkinan besar mobil ini akan memiliki teknologi hybrid, seperti dikutip dari Autoevolution.
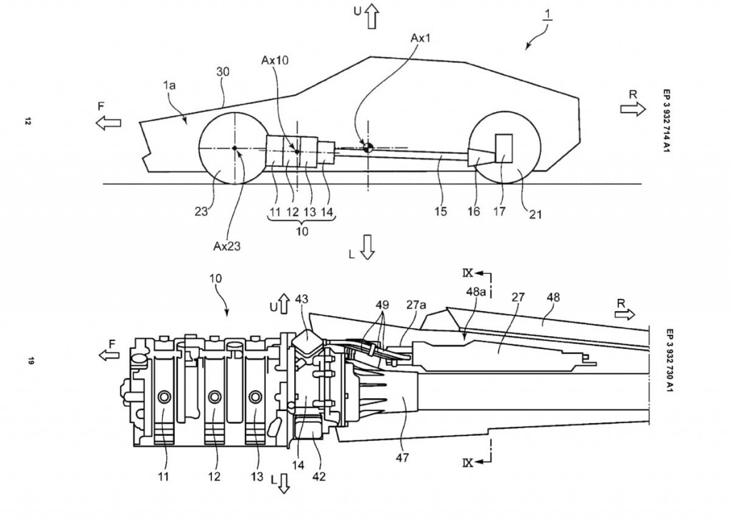
Dijelaskan para insinyur sudah mengajukan hak paten pada Juni 2021 dan diterbitkan pada 5 Januari 2022. Secara desain, mesin rotary juga lebih cocok untuk tata letak hybrid karena lebih ringkas.
Mesin rotary dapat masuk ke ruang yang lebih kecil dengan motor listrik yang digabungkan langsung ke poros. Untuk mendinginkan dan melumasi mesin serta motor, oli akan berbagi dengan cairan pendingin dalam sistem pengaturan yang khusus. Tenaga ke motor masih datang dari baterai yang terletak di dalam ruang kabin kendaraan.
Selanjutnya, pada ilustrasi dan deskripsi paten menunjukkan bahwa ada poros baling-baling yang mengarah dari output motor listrik ke transmisi yang terletak di poros belakang, mengisyaratkan konfigurasi transaxle dalam paten itu.
Ini akan memungkinkan Mazda untuk menempatkan seluruh tenaga di belakang as roda depan dan drivetrain di depan as roda belakang. Itu akan menempatkan semua bagian terberat di tengah sasis untuk keseimbangan yang lebih baik dan akan memiliki gangguan kabin minimal dari seluruh pengaturan.
Solusi ini jelas cukup masuk akal karena selama ini pengembangan mesin rotary terbentur oleh emisi gas buang. Terlebih di negara-negara Uni Eropa akan memberlakukan standar emisi gas buang Euro 7.
Tokyo: Mesin rotary sudah lama tidak diproduksi oleh Mazda sejak 1 dekade yang lalu. Meski sudah tidak diproduksi, tetapi merek asal Jepang tersebut tidak berhenti mengembangan mesin tersebut.
Kini sudah muncul sebuah desain paten yang diduga adalah desain mesin rotary terbaru yang sudah dikembangkan. Di desain tersebut ada tampak ada tambahan baterai dan kemungkinan besar mobil ini akan memiliki teknologi hybrid, seperti dikutip dari Autoevolution.
Dijelaskan para insinyur sudah mengajukan hak paten pada Juni 2021 dan diterbitkan pada 5 Januari 2022. Secara desain, mesin rotary juga lebih cocok untuk tata letak hybrid karena lebih ringkas.
Mesin rotary dapat masuk ke ruang yang lebih kecil dengan motor listrik yang digabungkan langsung ke poros. Untuk mendinginkan dan melumasi mesin serta motor, oli akan berbagi dengan cairan pendingin dalam sistem pengaturan yang khusus. Tenaga ke motor masih datang dari baterai yang terletak di dalam ruang kabin kendaraan.
Selanjutnya, pada ilustrasi dan deskripsi paten menunjukkan bahwa ada poros baling-baling yang mengarah dari output motor listrik ke transmisi yang terletak di poros belakang, mengisyaratkan konfigurasi transaxle dalam paten itu.