Pada kedua smartphone premium buatan Samsung itu, sensor sidik jari terletak di bagian belakang, di sebelah kamera belakang. Tempat itu menyulitkan pengguna untuk mencapainya, terutama jika Anda memegang ponsel pada bagian bawah.
Beberapa bulan lalu, muncul rumor yang menyebutkan bahwa smartphone premium Samsung berikutnya, yang diduga bernama Galaxy S9, akan memiliki sensor sidik jari di tempat yang sama anehnya.
Namun, paten baru milik Samsung dari Layanan Informasi Hak Properti Intelektual Korea (KIPRIS) mengindikasikan bahwa mungkin, Samsung akan meletakkan sensor sidik jari pada Galaxy S9 di tempat yang lebih wajar.

Menurut laporan SlashGear, paten tersebut menunjukkan bahwa sensor sidik jari yang sangat kecil dan sangat cepat akan bisa ditanamkan di bagian depan dari smartphone buatan Samsung di masa depan.
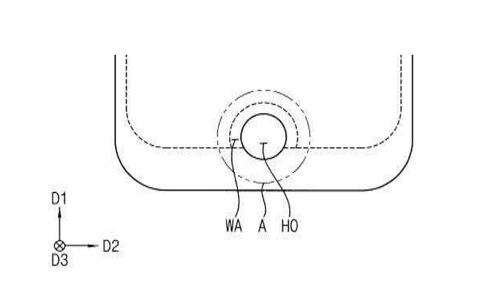
Paten itu mengindikasikan bahwa ponsel Samsung di masa depan bisa memiliki cekungan kecil di bagian bawah dari muka ponsel. Di bagian cekungan ini akan tertanam sensor sidik jari yang dapat membaca data sidik jari pengguna dengan sangat cepat.
Salah satu ilustrasi dalam paten ini menunjukkan bagaimana sebagian dari sensor sidik jari ini akan ada pada bagian layar.

Satu hal yang menarik adalah dokumen paten telah dimasukkan oleh Samsung sejak awal 2016. Itu artinya, bisa jadi desain ini telah dipertimbangkan oleh Samsung untuk digunakan pada Galaxy S8. Namun, masih belum diketahui apakah Samsung memang akan menggunakan desain ini pada smartphone premiumnya yang akan datang.
Cek Berita dan Artikel yang lain di
Google News