Paten yang dilihat oleh anggota NeoGAF, forum gaming, ini menjelaskan tentang sebuah headset VR yang dapat dikombinasikan dengan tablet Switch, seperti Daydream milik Google atau Gear VR milik Samsung.
Headset tersebut, kata Nintendo, akan membuat konten yang dilihat pengguna menjadi terlihat semakin nyata. Menurut laporan The Verge, headset ini dapat memiliki sensor pelacak sendiri atau memanfaatkan sensor yang ada pada tablet. Pengguna akan dapat memainkan game menggunakan controller Switch, yang diduga akan memiliki sensor gerak seperti controller Wii.
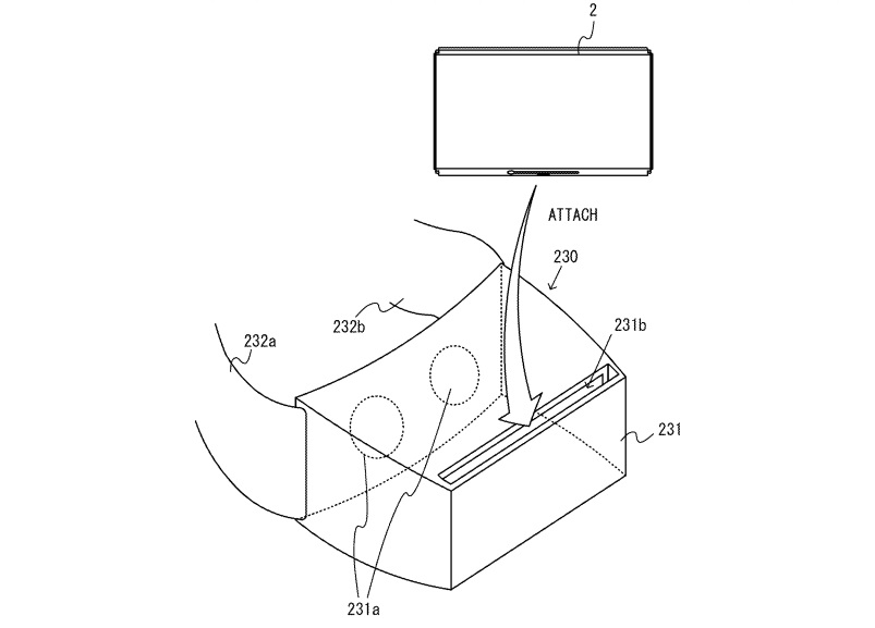
Paten ini didaftarkan pada bulan Juni, sebelum Switch dipamerkan. Ia memiliki banyak konfigurasi. Dalam paten ini terdapat sebuah gambar yang menunjukkan bagaimana tablet Switch dimasukkan ke bagian depan dan headband yang ada pada headset ini.

Keberadaan paten ini bukan berarti Nintendo sedang mengembangkan perangkat VR atau menunjukkan bahwa Nintendo merasa mengembangkan VR adalah ide bagus.
"Satu teknologi yang sering saya bahas adalah VR, dan teknologi ini merupakan teknologi yang menarik bagi saya," kata Game Designer Shigeru Miyamoto dalam sebuah wawancara.
"Namun, dengan keadan pasar sekarang ini, VR adalah teknologi yang sulit untuk mendapatkan pengguna yang banyak di pasar."
Paten ini juga bukan bukti bahwa Switch akan dapat bekerja pada perangkat VR mobile. Kemungkinan, Switch memang memiliki performa yang lebih baik dari smartphone biasa, tapi ia memiliki bodi yang lebih besar, jadi, ia belum tentu cocok untuk dipasangkan pada headset VR layaknya ponsel. Satu hal yang pasti, paten ini menunjukkan bahwa Nintendo sadar akan potensi dari Switch.
Sebelum ini, President Nintendo Tatsumi Kimishima berkata, Switch akan memiliki berbagai aksesori yang akan diumumkan menjelang peluncuran Switch pada bulan Maret tahun depan. Tidak tertutup kemungkinan, headset VR adalah salah satu dari aksesori tersebut.
Cek Berita dan Artikel yang lain di
Google News
Viral! 18 Kampus ternama memberikan beasiswa full sampai lulus untuk S1 dan S2 di Beasiswa OSC. Info lebih lengkap klik : osc.medcom.id