medcom.id: Generasi Kawasaki Ninja ZX-14 atau ZZR1400 selama ini hanya sebatas upgrade fitur atau edisi spesial. Tapi model terbarunya yang akan meluncur dalam waktu dekat, punya lampu yang 'pintar melirik'.
Penyematan teknologi lampu pintar, yang dapat membantu pengendara melewati tikungan saat malam hari. Lampu ini akan terpisah dari lampu utama dan punya fungsi untuk menerangi jalan yang dituju, meski setang atau posisi motor masih menghadap lurus.
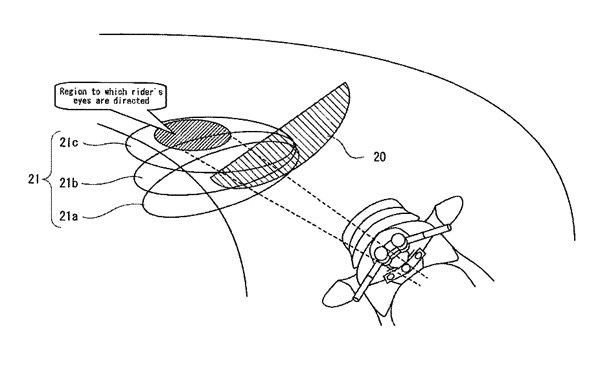
Cara kerjanya sama persis seperti teknologi lampu mobil yang menggunakan sensor arah berbeloknya ban. Maka teknologi lampu pintar di motor menggunakan sensor kemiringan. Total ada tujuh buah lampu terpasang di bagian depan.
Satu lampu berukuran besar sebagai yang utama, kemudian enam lampu tersusun rapi di kiri-kanannya. Enam lampu inilah yang akan membantu pengendara tadi.
Di sudut kemiringan tertentu, lampu kecil paling atas akan menyala. Lalu jika motor semakin rebah lagi, lampu kecil yang ditengah ikut menyala. Seterusnya, jika semakin miring, maka seluruh lampu kecil akan menyala.
Lampu kecil ini menyinari sisi dalam tikungan yang memang pada bagian ini tidak tersinari cahaya lampu dengan baik. Lihat pada gambar dimana lampu yang besar, justru tetap menyinari jalan lurus saja karena posisi lampu terletak di fairing.
Jika memang disematkan teknologi ini, maka rupa ZX-14 akan terlihat lebih klasik. Karena tujuh lampu tersebut berbentuk bulat.
medcom.id: Generasi Kawasaki Ninja ZX-14 atau ZZR1400 selama ini hanya sebatas
upgrade fitur atau edisi spesial. Tapi model terbarunya yang akan meluncur dalam waktu dekat, punya lampu yang 'pintar melirik'.
Penyematan teknologi lampu pintar, yang dapat membantu pengendara melewati tikungan saat malam hari. Lampu ini akan terpisah dari lampu utama dan punya fungsi untuk menerangi jalan yang dituju, meski setang atau posisi motor masih menghadap lurus.
Cara kerjanya sama persis seperti teknologi lampu mobil yang menggunakan sensor arah berbeloknya ban. Maka teknologi lampu pintar di motor menggunakan sensor kemiringan. Total ada tujuh buah lampu terpasang di bagian depan.
Satu lampu berukuran besar sebagai yang utama, kemudian enam lampu tersusun rapi di kiri-kanannya. Enam lampu inilah yang akan membantu pengendara tadi.

Di sudut kemiringan tertentu, lampu kecil paling atas akan menyala. Lalu jika motor semakin rebah lagi, lampu kecil yang ditengah ikut menyala. Seterusnya, jika semakin miring, maka seluruh lampu kecil akan menyala.
Lampu kecil ini menyinari sisi dalam tikungan yang memang pada bagian ini tidak tersinari cahaya lampu dengan baik. Lihat pada gambar dimana lampu yang besar, justru tetap menyinari jalan lurus saja karena posisi lampu terletak di
fairing.
Jika memang disematkan teknologi ini, maka rupa ZX-14 akan terlihat lebih klasik. Karena tujuh lampu tersebut berbentuk bulat.
Cek Berita dan Artikel yang lain di
Google News
Viral! 18 Kampus ternama memberikan beasiswa full sampai lulus untuk S1 dan S2 di Beasiswa OSC. Info lebih lengkap klik : osc.medcom.id(UDA)