Porsche mengembangkan mesin 6 tak untuk mobil. Porsche
Porsche mengembangkan mesin 6 tak untuk mobil. Porsche

Porsche Patenkan Mesin 6-Tak: Bagaimana Cara Kerjanya?

Ekawan Raharja • 24 September 2024 16:39

Amerika Serikat: Porsche sedang mengembangkan mesin yang sangat unik dan berbeda dari mesin konvensional. Mereka memperkenalkan mesin baru dengan enam langkah piston dalam satu putaran poros engkol, yang dikenal sebagai mesin 6-tak.

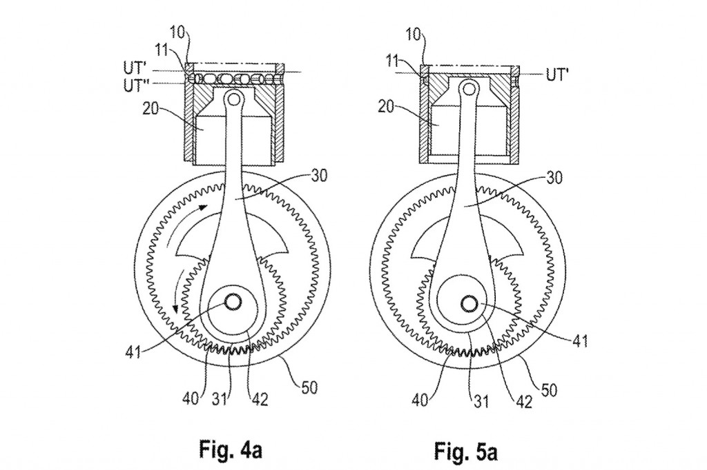
Mesin ini menggunakan mekanisme poros engkol yang bergerak dalam sebuah cincin (annulus), menghasilkan gerakan yang mirip dengan pola spirograph. Berbeda dengan mesin biasa, di mana poros engkol menciptakan dua titik mati atas (top dead center - TDC) dan dua titik mati bawah (bottom dead center - BDC), mesin ini memiliki mekanisme berbeda. Putaran poros engkolnya mencapai 1080 derajat untuk menyelesaikan satu siklus penuh, menjadikannya mesin enam langkah.

Mesin ini bekerja melalui dua set siklus tiga langkah yang terdiri dari proses pembakaran dan kompresi. Komponen utama dari sistem ini adalah piston yang terhubung ke roda planet (planet wheel) melalui batang penghubung (connecting rod). Roda planet ini berputar di dalam cincin dan menggerakkan poros engkol.

Baca Juga:
Tahun Depan, MG Sudah Siapkan 1 Model SUV Baru

Susunan elemen yang unik pada roda planet ini memungkinkan piston mencapai titik mati atas dan bawah yang diperlukan untuk siklus enam langkah. Silindernya juga dilengkapi dengan katup dan saluran pembuangan untuk mengatur aliran campuran udara-bahan bakar serta gas buang. Selain itu, ada mekanisme untuk menyesuaikan rasio kompresi dan waktu pembakaran agar prosesnya lebih efisien.

Porsche mengklaim bahwa desain ini bisa meningkatkan efisiensi bahan bakar, terutama jika menggunakan bahan bakar elektronik sintetis (e-fuel) atau hidrogen. Hidrogen, yang dikenal mudah terbakar, memungkinkan mesin bekerja dengan campuran bahan bakar yang lebih sedikit, sehingga menghasilkan pembakaran yang lebih bersih dan tenaga yang lebih besar dibandingkan mesin empat-tak atau dua-tak biasa.

Porsche telah mengajukan paten ini ke Kantor Paten dan Merek Dagang Amerika Serikat (USPTO) untuk desain mesin inovatif 6-tak ini. Mesinnya diklaim lebih efisien dan bisa menghasilkan daya yang lebih besar, sehingga menarik untuk dilihat apakah teknologi ini akan digunakan di mobil-mobil masa depan Porsche.


 
Cek Berita dan Artikel yang lain di
Google News

Viral! 18 Kampus ternama memberikan beasiswa full sampai lulus untuk S1 dan S2 di Beasiswa OSC. Info lebih lengkap klik : osc.medcom.id
(UDA)




TERKAIT

BERITA LAINNYA

social
FOLLOW US

Ikuti media sosial medcom.id dan dapatkan berbagai keuntungan