Amerika Serikat: Sampai saat ini mayoritas pengguna mobil masih disajikan pengaturan setir sebatas teleskopik dan tilt, dimana setir bisa diatur panjang pendeknya dan posisi ketinggiannya. Namun bagaimana apabila di masa depan setir bisa digeser dari jok kiri ke jok kanan di depan?
Sekarang Volvo sedang mengembangkan teknologi yang memungkinkan setir mobil bisa dipindahkan dari jok kanan ke kiri. Sehingga kedua penumpang yang ada di depan bisa bergantian menjadi pengemudi, sesuai dengan kebutuhan penumpangnya.
Teknologi unik ini diketahui sudah diajukan hak paten dan dagangnya di Amerika Serikat. Sehingga kemungkinan besar teknologi ini nantinya hanya dimiliki oleh Jenama asal Swedia itu saja.
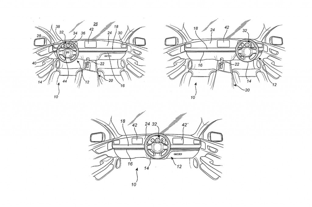
Kalau melihat dari desainnya, tampak setir ini menempel di rel yang membentang sepanjang dashboard. Kemudian untuk cluster informasi juga menyatu dengan setir, sehingga ketika setir berpindah maka cluster informasi untuk pengemudi juga mengikuti. Kemungkinan besar sistem pengoperasiannya tetap memakai teknologi steer by wire agar tak mengubah fungsi.
Berdasarkan desain yang terkuak, setir ini memiliki tiga posisi perpindahan yakni kiri, tengah, dan kanan. Ada kemungkinan ketika setir dipindah ke tengah, ini untuk menunjang fitur otonom yang juga sedang dikembangkan pabrikan mobil premium tersebut.
Kemudian di setiap kaki penumpang di depan disematkan pedal gas dan rem, karena disesuaikan dengan transmisi otomatis yang digunakan. Pedal ini memiliki sensor khusus yang aktif terkoneksi dengan posisi setir. Pedal ini baru akan aktif ketika ada setir di atasnya.
Walaupun Volvo sudah mematenkan teknologi setir yang bisa diubah ini, belum ada kejelasan mengenai mobil yang akan menerapkan sistem tersebut.
Amerika Serikat: Sampai saat ini mayoritas pengguna mobil masih disajikan pengaturan setir sebatas teleskopik dan tilt, dimana setir bisa diatur panjang pendeknya dan posisi ketinggiannya. Namun bagaimana apabila di masa depan setir bisa digeser dari jok kiri ke jok kanan di depan?
Sekarang Volvo sedang mengembangkan teknologi yang memungkinkan setir mobil bisa dipindahkan dari jok kanan ke kiri. Sehingga kedua penumpang yang ada di depan bisa bergantian menjadi pengemudi, sesuai dengan kebutuhan penumpangnya.
Teknologi unik ini diketahui sudah diajukan hak paten dan dagangnya di Amerika Serikat. Sehingga kemungkinan besar teknologi ini nantinya hanya dimiliki oleh Jenama asal Swedia itu saja.
Kalau melihat dari desainnya, tampak setir ini menempel di rel yang membentang sepanjang dashboard. Kemudian untuk cluster informasi juga menyatu dengan setir, sehingga ketika setir berpindah maka cluster informasi untuk pengemudi juga mengikuti. Kemungkinan besar sistem pengoperasiannya tetap memakai teknologi steer by wire agar tak mengubah fungsi.
Berdasarkan desain yang terkuak, setir ini memiliki tiga posisi perpindahan yakni kiri, tengah, dan kanan. Ada kemungkinan ketika setir dipindah ke tengah, ini untuk menunjang fitur otonom yang juga sedang dikembangkan pabrikan mobil premium tersebut.
Kemudian di setiap kaki penumpang di depan disematkan pedal gas dan rem, karena disesuaikan dengan transmisi otomatis yang digunakan. Pedal ini memiliki sensor khusus yang aktif terkoneksi dengan posisi setir. Pedal ini baru akan aktif ketika ada setir di atasnya.
Walaupun Volvo sudah mematenkan teknologi setir yang bisa diubah ini, belum ada kejelasan mengenai mobil yang akan menerapkan sistem tersebut.
Cek Berita dan Artikel yang lain di
Google News
Viral! 18 Kampus ternama memberikan beasiswa full sampai lulus untuk S1 dan S2 di Beasiswa OSC. Info lebih lengkap klik : osc.medcom.id(ERA)