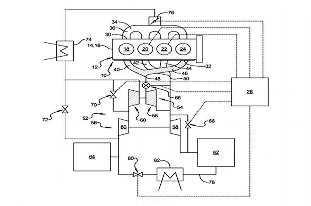
medcom.id: Beberapa pekan lalu, General Motors (GM) mengungkap sistem komponen mesin baru yang telah mereka patenkan, yaitu trick two-stage turbo. Yang sekarang terwujud dengan kemunculan mesin V8 turbocharged baru.
Dalam aplikasi paten yang diterbitkan pada Agustus 2016 lalu GM mengusulkan sistem turbo baru.Tekanan tinggi turbo akan dihubungkan dengan exhaust passage dari full-time active cylinders, dan tekanan rendah turbo knalpot dari silinder ditandai untuk penonaktifan.
Sebuah katup kontrol akan memodulasi aliran dari bagian exhaust, ketika terbuka. Knalpot yang terhubung dengan full-time active cylinders diperbolehkan untuk bergabung dengan knalpot dari deactivated cylinders, dan melewati tekanan rendah turbo. Ketika katup menutup akan menghubungkan gas langsung dari full-time active cylinders secara eksklusif melalui tekanan tinggi turbo.
Saat ini, Active Fuel Management tidak mungkin berhubungan dengan turbocharging. Sebuah mesin deactivated cylinders yang dilengkapi dengan turbo tunggal akan terganggu oleh aliran dan meningkatkan kemampuan tunggal kompresor. GM mengatakan itu mungkin akan lebih mengoptimalkan turbo tunggal pada operasi deactivated, namun peruntukannya lebih cocok pada kinerja mesin dengan kecepatan yang lebih tinggi.
Menurut media setempat aplikasi ini 9 bulan lebih tua, maka tidak mengandung rincian yang sama persis dengan aplikasi yang diajukan pada 19 Mei 2016. Tapi, jika aplikasi merujuk pada pengajuan Agustus 2015 dan menggabungkannya dengan konsep baru di Mei 2016, bisa dikatakan ide ini jauh lebih layak.
medcom.id: Beberapa pekan lalu, General Motors (GM) mengungkap sistem komponen mesin baru yang telah mereka patenkan, yaitu
trick two-stage turbo. Yang sekarang terwujud dengan kemunculan mesin V8
turbocharged baru.
Dalam aplikasi paten yang diterbitkan pada Agustus 2016 lalu GM mengusulkan sistem turbo baru.Tekanan tinggi turbo akan dihubungkan dengan
exhaust passage dari
full-time active cylinders, dan tekanan rendah turbo knalpot dari silinder ditandai untuk penonaktifan.
Sebuah katup kontrol akan memodulasi aliran dari bagian
exhaust, ketika terbuka. Knalpot yang terhubung dengan
full-time active cylinders diperbolehkan untuk bergabung dengan knalpot dari
deactivated cylinders, dan melewati tekanan rendah turbo. Ketika katup menutup akan menghubungkan gas langsung dari
full-time active cylinders secara eksklusif melalui tekanan tinggi turbo.
Saat ini,
Active Fuel Management tidak mungkin berhubungan dengan
turbocharging. Sebuah mesin
deactivated cylinders yang dilengkapi dengan turbo tunggal akan terganggu oleh aliran dan meningkatkan kemampuan tunggal kompresor. GM mengatakan itu mungkin akan lebih mengoptimalkan turbo tunggal pada operasi
deactivated, namun peruntukannya lebih cocok pada kinerja mesin dengan kecepatan yang lebih tinggi.
Menurut media setempat aplikasi ini 9 bulan lebih tua, maka tidak mengandung rincian yang sama persis dengan aplikasi yang diajukan pada 19 Mei 2016. Tapi, jika aplikasi merujuk pada pengajuan Agustus 2015 dan menggabungkannya dengan konsep baru di Mei 2016, bisa dikatakan ide ini jauh lebih layak.
Cek Berita dan Artikel yang lain di
Google News
Viral! 18 Kampus ternama memberikan beasiswa full sampai lulus untuk S1 dan S2 di Beasiswa OSC. Info lebih lengkap klik : osc.medcom.id(UDA)