LG dilaporkan mematenkan stylus cerdas dengan bekal layar fleksibel, memungkinkan berfungsi layaknya smartphone.
LG dilaporkan mematenkan stylus cerdas dengan bekal layar fleksibel, memungkinkan berfungsi layaknya smartphone.

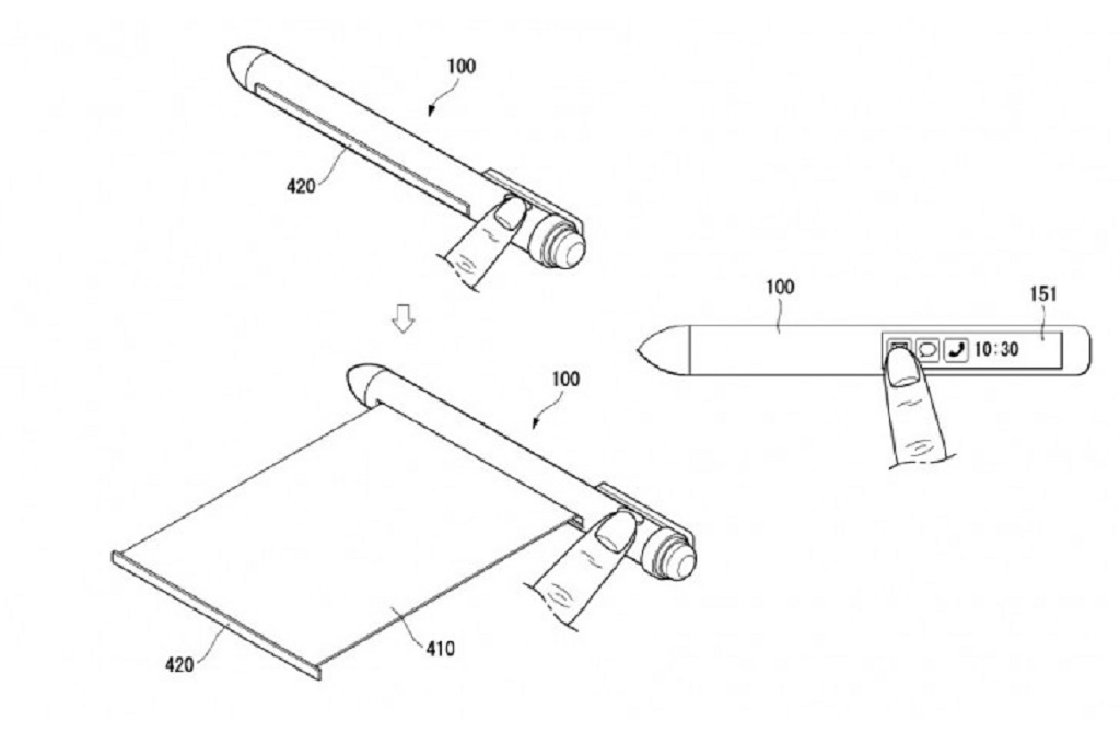
LG Patenkan Pena Cerdas Layar Fleksibel

Lufthi Anggraeni • 06 Juli 2018 09:28
Jakarta: LG dilaporkan mematenkan stylus cerdas yang berpotensi untuk menggantikan ponsel, berkat bekal dua layar di bodinya.
 
Satu kecil disebut bertugas sebagai jalan pintas untuk apliasi, notifikasi, dan penampil waktu, sedang layar dengan ukuran lebih besar merupakan layar fleksibel.
 
Dokumen paten pena cerdas ini juga menampilkan tombol khusus bertugas untuk menggulirkan keluar dan masuk layar fleksibel, sehingga pengguna dapat menggunakan pena layaknya smartphone pada umumnya saat mereka dibutuhkan.

Pena cerdas ini dapat menjalankan aplikasi reguler dan dapat digunakan untuk menjelajahi internet dan menuliskan pesan teks. LG juga diperkirakan tengah mempertimbangkan ide untuk membenamkan layar serupa pada TV 65 inci yang dapat digulung karyanya.
 
Selain layar, pena ini juga dibekali dengan berbagai sensor yang umumnya ditemukan pada smartphone modern. Sensor tersebut termasuk gyro, e-compass, proximity, pressure, camera, dan sensor pelacak mata. Perangkat ini juga dibekali oleh sensor pemindai sidik jari, serta mikrofon dan speaker.
 
Selain itu, paten ini juga mengindikasikan fitur menarik yang memungkinkan pena untuk dihubungkan dengan perangkat cerdas lainnya seperti ponsel atau tablet. Menuliskan teks pada permukaan manapun akan menampilkan tulisan muncul pada layar perangkat yang terhubung.
 
LG juga dikabarkan tengah mengembangkan smartphone berdesain lipat setelah salah satu dokumen paten yang didaftarkannya mendapatkan persetujuan. Paten ini turut mengindikasikan bahwa perangkat tersebut merupakan ponsel reguler yang dapat dilipat di bagian tengah.
 
Sementara itu, Apple mungkin akan menjadikan LG sebagai pemasok alternatif untuk layar OLED yang mereka gunakan pada iPhone X. Dengan menjadikan LG sebagai pemasok sekunder, Apple akan bisa mendapatkan layar OLED dengan lebih cepat dan lebih murah.
 
Cek Berita dan Artikel yang lain di
Google News

Viral! 18 Kampus ternama memberikan beasiswa full sampai lulus untuk S1 dan S2 di Beasiswa OSC. Info lebih lengkap klik : osc.medcom.id
(MMI)




TERKAIT

BERITA LAINNYA

social
FOLLOW US

Ikuti media sosial medcom.id dan dapatkan berbagai keuntungan