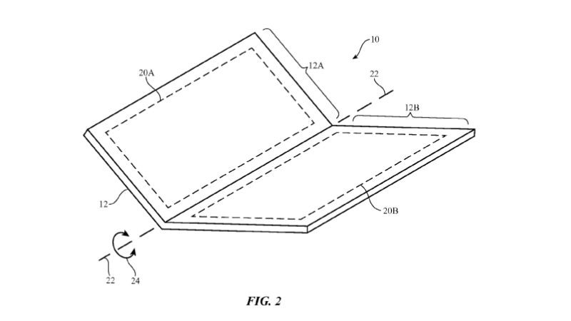
Gambar pada pendaftaran paten untuk iPhone yang dapat ditekuk. (USPTO)
Gambar pada pendaftaran paten untuk iPhone yang dapat ditekuk. (USPTO)

Apple Tertarik Buat iPhone Berlayar Lentur?

Ellavie Ichlasa Amalia • 03 November 2016 18:27
medcom.id: Sebagian orang mengkritik Apple saat meluncurkan iPhone 7 karena dianggap sangat mirip dengan iPhone 6s. Namun, sebuah paten baru menunjukkan, Apple mungkin tertarik untuk membuat iPhone dengan tampilan yang sama sekali baru untuk iPhone di masa depan.
 
Menurut Patently Apple, Apple baru saja mendapatkan paten untuk iPhone yang dapat ditekuk. Dalam laporan itu, disebutkan bahwa Apple telah berusaha untuk mendapatkan paten tersebut sejak tahun 2013, tapi baru berhasil mendapatkannya sekarang. 
 
Seperti yang disebutkan oleh CNET, iPhone yang dapat ditekuk memang terdengar menarik, tapi tidak ada jaminan Apple memang akan meluncurkan smartphone tersebut. Pada bulan April lalu, Samsung telah mendapatkan paten untuk lensa kontak AR, tapi teknologi itu tampaknya tidak akan diluncurkan dalam waktu dekat.

Menurut Gizmodo, paten ini didaftarkan pada tanggal 28 Agustus lalu. Patently Apple menyebutkan, Apple berhasil menyembunyikan kabar tentang paten iPhone yang dapat ditekuk ini karena menggunakan nama salah satu teknisinya dalam pendaftaran paten. Sementara dalam paten, Apple menggunakan nama iPhone secara eksplisit dan tidak menggunakan nama yang umum seperti "alat elektronik". 
 
Satu hal yang menarik dari paten ini adalah material yang mungkin akan digunakan untuk membuat iPhone ini di masa depan.
 
Paten itu menyebutkan bahwa bodi iPhone dapat terbuat dari kaca, keramik, serat, aluminium atau plastik, yang tidak jauh berbeda dari yang ada sekarang. Satu hal yang berbeda adalah deskripsi "carbon nanotube" yang disebutkan memungkinkan iPhone untuk dapat menekuk di bagian tengah.
 
Dalam paten tersebut, juga dituliskan bahwa iPhone di masa depan "mungkin akan memiliki engsel atau sendi yang dapat dibengkokkan". Samsung juga pernah berusaha untuk membuat smartphone dengan layar fleksibel yang dapat ditekuk. Namun, tampaknya smartphone yang dapat dibengkokkan tidak akan diluncurkan dalam waktu dekat.
 
Cek Berita dan Artikel yang lain di
Google News
(MMI)




TERKAIT

BERITA LAINNYA

social
FOLLOW US

Ikuti media sosial medcom.id dan dapatkan berbagai keuntungan